Oil Filter Change Chrysler 300 2005 2010 2008 Chrysler

Oil Filter Change Chrysler 300 2005 2010 2008 Chrysler

How To Change Engine Oil 05 10 Chrysler 300

How To Change Engine Oil 05 10 Chrysler 300

Oil Pressure Light 2008 Chrysler 300 Lx 2 7

Oil Pressure Light 2008 Chrysler 300 Lx 2 7

Oil Pressure Light 2008 Chrysler 300 Lx 2 7

How To Do An Oil Change Chrysler 300

How To Do An Oil Change Chrysler 300

Oil Filter Change Chrysler 300 2005 2010 2008 Chrysler

Oil Filter Change Chrysler 300 2005 2010 2008 Chrysler

Amazon Com Eccpp Oil Pressure Sensor Switch Sender Fit For

Amazon Com Eccpp Oil Pressure Sensor Switch Sender Fit For

How To Reset Chrysler 300 Oil Change Due Light

How To Reset Chrysler 300 Oil Change Due Light

2005 2006 2007 2008 2009 2010 2 7 Chrysler 300 Dodge Magnum Charger Oil Pan

2005 2006 2007 2008 2009 2010 2 7 Chrysler 300 Dodge Magnum Charger Oil Pan

Details About 1x Engine Oil Filter For 2008 Chrysler 300 V8 6 1l Hastings Filters

Details About 1x Engine Oil Filter For 2008 Chrysler 300 V8 6 1l Hastings Filters

2005 2006 2007 2008 2009 2010 2 7 Chrysler 300 Dodge Magnum Charger Oil Pan

2005 2006 2007 2008 2009 2010 2 7 Chrysler 300 Dodge Magnum Charger Oil Pan

Details About Engine Oil Level Dipstick For Chrysler 300 300c Dodge Charger Magnum 5 7l

Details About Engine Oil Level Dipstick For Chrysler 300 300c Dodge Charger Magnum 5 7l

Purolator Boss Engine Oil Filter For 2008 2014 Chrysler 300 Long Life

Purolator Boss Engine Oil Filter For 2008 2014 Chrysler 300 Long Life

Amazon Com Gzyf Auto Engine Oil Dipstick Transmission Fluid

Amazon Com Gzyf Auto Engine Oil Dipstick Transmission Fluid

2008 Chrysler 300 Lx For Sale With Photos Carfax

2008 Chrysler 300 Lx For Sale With Photos Carfax

Check Oil Level 2005 2010 Chrysler 300 2005 Chrysler 300 C

Check Oil Level 2005 2010 Chrysler 300 2005 Chrysler 300 C

Used 2008 Chrysler 300 C Awd In Chepachet Ri Near 02814 2c3kk63h08h158826 Auto Com

Used 2008 Chrysler 300 C Awd In Chepachet Ri Near 02814 2c3kk63h08h158826 Auto Com

Connector Oil Filter

Connector Oil Filter

2008 Chrysler 300 Specs Price Mpg Reviews Cars Com

2008 Chrysler 300 Specs Price Mpg Reviews Cars Com

Details About 05 08 Chrysler 300 Charger 5 7l Hemi Oil Indicator Dipstick Tube Oring Mopar

Details About 05 08 Chrysler 300 Charger 5 7l Hemi Oil Indicator Dipstick Tube Oring Mopar

Chrysler 300 Parts Partsgeek Com

Chrysler 300 Parts Partsgeek Com

How Check The Transmission Fluid In A 2008 Chrysler 300 2 7 Liter V6

How Check The Transmission Fluid In A 2008 Chrysler 300 2 7 Liter V6

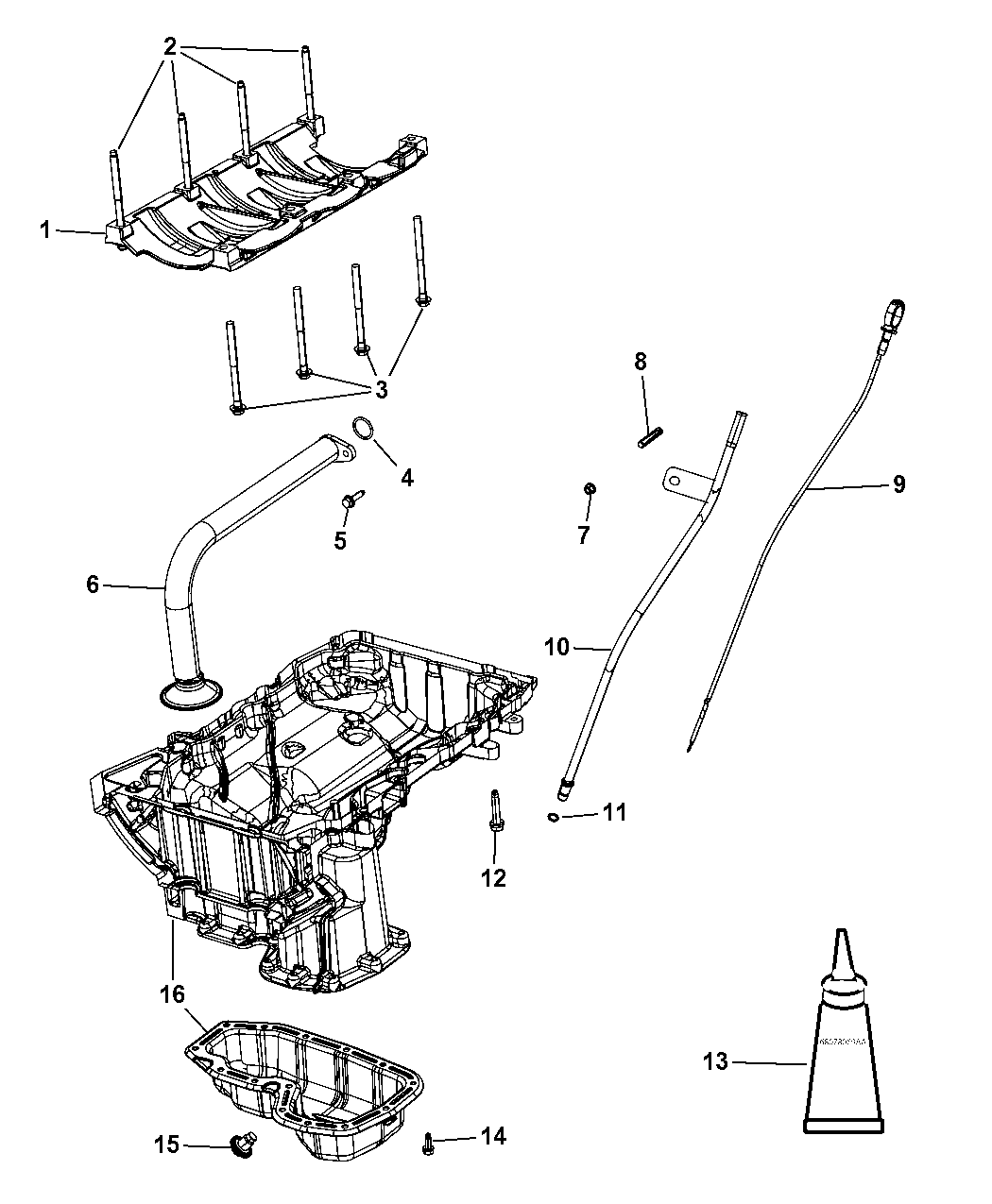
2008 Chrysler 300 Engine Oil Pump Pickup Tube O Ring Parts

2008 Chrysler 300 Engine Oil Pump Pickup Tube O Ring Parts

Tech Spec 2005 Chrysler 300 Series 2017 08 31 Noln

Tech Spec 2005 Chrysler 300 Series 2017 08 31 Noln

Tube Oil Cooler

Tube Oil Cooler

2008 Chrysler 300 Sedan Review Edmunds

2008 Chrysler 300 Sedan Review Edmunds

2019 Chrysler 300 Information Autoblog

2019 Chrysler 300 Information Autoblog

Oil Filter Change Chrysler 300 2005 2010 2008 Chrysler

Oil Filter Change Chrysler 300 2005 2010 2008 Chrysler

Solved Where Is Oil Sending Switch On Chrysler 300 2 7 Fixya

Solved Where Is Oil Sending Switch On Chrysler 300 2 7 Fixya

2008 Chrysler 300 3 5l Engine Oil Pan Gasket Set Pg1150 7

2008 Chrysler 300 3 5l Engine Oil Pan Gasket Set Pg1150 7

300 Oil Pumps Best Oil Pump For Chrysler 300 Price 5 99

300 Oil Pumps Best Oil Pump For Chrysler 300 Price 5 99

Source : pinterest.com