1998 Honda Crv Parts Diagram

Honda tech honda forum in 1998 honda crv vacuum diagram image size 565 x 600 px description.
1998 honda crv parts diagram. Cr v lx2wd 5 door 4at. If so your suspension is in need of repair but before you waste your time and gas running out to the auto parts chain store check out our great. We attempt to explore this 1998 honda crv parts diagram photo in this article because according to information coming from google engine it is one of the top searches keyword on google. Honda online store.
1998 honda crv parts diagram is among the pics we located on the net from reliable sources. Honda cr v alternator if your honda crv alternator has begun to fail replace it with a genuine part to ensure long lasting function. View large diagram hide diagram view diagram view printable catalog translate. Honda cr v 1998 front lower press in type ball joint by delphi.
Easy to use parts catalog. 0 items left menu. 1998 honda cr v 20l l4 exhaust system kit rockauto. A good copy of the honda crv parts diagram is probably essential.
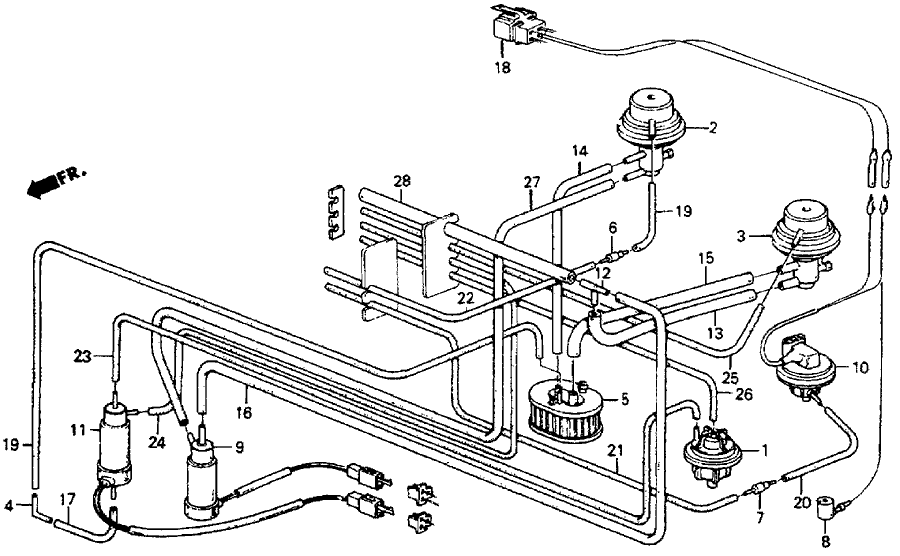
Rockauto ships auto parts and body parts from over 300 manufacturers to customers doors worldwide all at warehouse prices. We hope this article can help in finding the information you need. And we also feel you arrived here were trying to find this info are not you. Close up pic of top of d16y8 intake mani vacuum lines honda tech with regard to 1998 honda crv vacuum diagram image size 710 x 679 px and to view image details please click the image.
Both engines are mated to cvt. Right menu find a dealer. The 2005 updates included xm radio and improved stereo systems. All 1998 honda cr v repair parts on offer are designed to provide high quality performance and long lasting service life at an economical price.